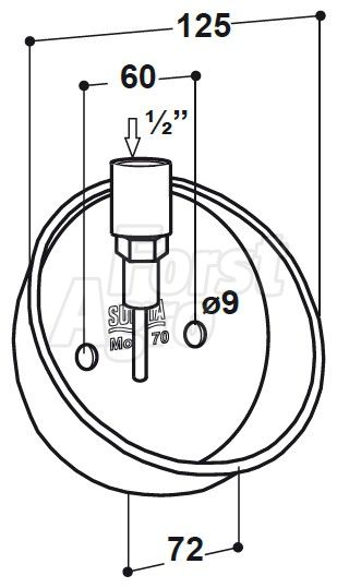
Napáječka Suevia Model 70
Napáječka z prvotřídní nerezové oceli pro selata od narození do 15 kg.
Kategorie
- Chov prasat → Napáječky a žlaby pro prasata, niplové napáječky
- Napáječky, napájecí žlaby → Napáječky → Napáječky pro prasata
- Stájové vybavení → Napáječky a žlaby
| dostupnost: | na dotaz |
|---|---|
| kód: | 662201 |
Popis produktu
Napáječka Suevia Model 70
- kompletně vyrobená z prvotřídní nerezové oceli
- ½" vnitřní závit ze shora
- hladký ventil z nerezové oceli
- možnost nastavit až 5 možností průtoku vody – rychlé a přesné nastavení
- určeno pro selata od narození do 15 kg


